BERARMA葉片泵轉子旋轉時,葉片在離心力和壓力油的作用下,尖部緊貼在定子內表面上。這樣兩個葉片與轉子和定子內表面所構成的工作容積,先由小到大吸油后再由大到小排油。
BERARMA葉片泵又分為雙作用葉片泵和單作用葉片泵。雙作用BERARMA葉片泵只能作定量泵用,單作用BERARMA葉片泵可作變量泵用。雙作用葉片泵因轉子旋轉一周,葉片在轉子葉片槽內滑動兩次,完成兩次吸油和壓油而得名。單作用葉片泵轉子每轉一周,吸、壓油各一次,故稱為單作用。
BERARMA葉片泵具有結構緊湊、運動平穩、噪聲小、輸油均勻、壽命長等優點,廣泛應用于中、低壓液壓系統中。其工作壓力為6~21MPa。
1 雙作用BERARMA葉片泵的結構怎樣,是怎樣工作的?
雙作用BERARMA葉片泵的工作原理:如圖14所示,轉子每轉一轉,每個工作腔完成兩次吸油和壓油。
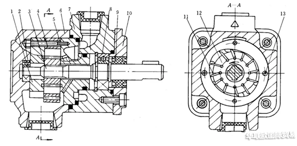
雙作用BERARMA葉片泵的結構:由定子內環、轉子外圓和左右配流盤組成的密閉工作容積被葉片分割為四部分,傳動軸帶動轉子旋轉,葉片在離心力作用下緊貼定子內表面,因定子內環由兩段大半徑圓弧、兩段小半徑圓弧和四段過渡曲線組成,故有兩部分密閉容積將減小,受擠壓的油液經配流窗口排出,兩部分密閉容積將增大形成真空,經配流窗口從油箱吸油。YBl型葉片泵結構如圖15所示。


圖14 雙作用葉片泵的工作原理圖
1-轉子 2-定子 3-葉片 4-泵殼


1-左配油盤;2-軸承;3-泵軸;4-定子;5-右配油盤;6-泵體;7-前泵體;8-軸承;9-油封;10-蓋板;11-葉片;12-轉子;13-緊固螺釘
圖15 YBl型葉片泵結構
2 怎樣計算雙作用BERARMA葉片泵的排量?
雙作用BERARMA葉片泵的排量:V = 2πB(R 2 – r 2)- 2 z BS(R - r)/ cosθ
式中B為轉子(葉片、定子)寬度,R為定子大半徑, r為定子小半徑, z為葉片數,S為葉片厚度,θ為葉片傾角。
3 雙作用BERARMA葉片泵有何特點?
雙作用葉片泵的特點:
徑向力平衡。
為保證葉片自由滑動且始終緊貼定子內表面,葉片槽根部全部通壓力油。
合理設計過渡曲線形狀和葉片數(z≥8),可使理論流量均勻,噪聲低。
定子曲線圓弧段圓心角β≥配流窗口的間距角γ ≥葉片間夾角α(=2π/z)。
為減少兩葉片間的密閉容積在吸壓油腔轉換時因壓力突變而引起的壓力沖擊,在配流盤的配流窗口前端開有減振槽。
4 高壓BERARMA葉片泵有何特點?
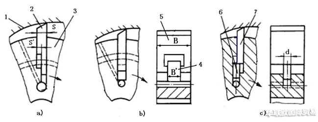
葉片槽根部全部通壓力油會帶來以下副作用:定子的吸油腔部被葉片刮研,造成磨損;減少了泵的理論排量;可能引起瞬時理論流量脈動。這樣,影響了泵的壽命和額定壓力的提高。
提高雙作用BERARMA葉片泵額定壓力的措施:
1)采用浮動配流盤實現端面間隙補償。
2)減小通往吸油區葉片根部的油液壓力。
3)減小吸油區葉片根部的有效作用面積,其中采用階梯式葉片以減小葉片厚度(厚度S減為S’,如圖16a所示),采用子母葉片以減小葉片寬度(寬度B減為B’,如圖16b所示),采用柱銷式葉片,如圖16c所示。


a)階梯式葉片 b)子母葉片 c)柱銷式葉片
1-定子,2-階梯葉片,3-轉子,4-子葉片,5-母葉片,6-柱銷,7-葉片
圖16 高壓葉片泵結構
4)采用雙層葉片結構,如圖17所示,壓力油經通道c從葉片根部b到頂部a,葉片頂部有壓力油,實現了葉片根部與頂部的壓力平衡與穩定,減小了葉片頂部對定子內表面的正壓力與摩擦力。


圖17 雙層葉片結構
5 單作用葉片泵是怎樣工作的,怎樣計算其排量?
單作用BERARMA葉片泵的工作原理:如圖18所示,當轉子按逆時針方向轉動時,右半周,葉片向外伸出,密封工作腔容積逐漸增大,形成局部真空,于是通過吸油口和配油盤上的吸油窗口將油吸入;左半周,葉片向轉子里縮進,密封工作腔容積逐漸縮小,工作腔內的油液經配油盤壓油窗口和泵的壓油口輸到系統中。
單作用BERARMA葉片泵排量計算:單作用葉片泵定子2內環為圓,R為定子內表面半徑;轉子1與定子存在偏心e,銑有z 個葉片槽;葉片3在轉子葉片槽內自由滑動,葉片寬度為B;左、右配流盤銑有吸、壓油窗口。
排量V= 4BzRe sin(π/z )


圖18 單作用葉片泵
6 單作用BERARMA葉片泵有何特點?
單作用葉片泵的特點:
1)可以通過改變定子的偏心距 e 來調節泵的排量和流量。
2)葉片槽根部分別通油,葉片厚度對排量無影響。
3)因葉片矢徑是轉角的函數,瞬時理論流量是脈動的。葉片數取為奇數,以減小流量的脈動。
7 什么是限壓式變量BERARMA葉片泵?
限壓式變量葉片泵如圖19所示,限壓式變量葉片泵定子右邊控制活塞作用著泵的出口壓力油,左邊作用著調壓彈簧力,當FFt,定子將向偏心減小的方向移動,泵的輸出流量減小。


圖19 限壓式變量葉片泵
8 限壓式變量BERARMA葉片泵特性曲線怎樣?
限壓式變量葉片泵特性曲線如圖20所示,調節壓力調節螺釘的預壓縮量,即改變特性曲線中拐點B的壓力大小pB,曲線BC 沿水平方向平移。調節定子右邊的最大流量調節螺釘,可以改變定子的最大偏心距emax,即改變泵的最大流量,曲線 AB上下移動。限壓式變量BERARMA葉片泵的壓力流量特性曲線如圖ABC。更換不同剛度的彈簧,即改變了BC 的斜率,泵的最高壓力pC也就不同。


圖20 限壓式變量葉片泵調節原理